Logo Passei Direto
Buscar
Material
páginas com resultados encontrados.
páginas com resultados encontrados.
left-side-bubbles-backgroundright-side-bubbles-background

Crie sua conta grátis para liberar esse material. 🤩

Já tem uma conta?

Ao continuar, você aceita os Termos de Uso e Política de Privacidade

left-side-bubbles-backgroundright-side-bubbles-background

Crie sua conta grátis para liberar esse material. 🤩

Já tem uma conta?

Ao continuar, você aceita os Termos de Uso e Política de Privacidade

Prévia do material em texto

1. Introdução 
O sistema físico mo
Consiste de um cilindro de latão (polia) 
e dois corpos, ou pesos, de massas m
um fio leve e inextensível. A diferença entre os pesos do
responsável por um torque não nulo sobre a polia
angular constante. A máquina de Atwood é um instrumento de grande utilidade 
para determinar o momento de inércia de objetos com simetria cilíndrica
mesmo a aceleração da gravidade, conforme se programa o experimento. 
Se o fio não escorrega no cilindro de latão
desenho), quando o sistema for abandonado sem velocidade inicial, 
entre a diferença de massa dos corpos e a aceleração linear do movimento é 
∆m = (2h/gR
onde ∆m = m1 - m2, M = m
corpos se deslocam de h, 
seu raio, τa é torque da força de atrito 
9,81 m s-2) é a aceleração da gravidade. 
2. Objetivos 
Estudar o movimento da máquina de Atwood e determinar o momento de 
inércia da polia e o torque da força de atrito.
Experimento 5 
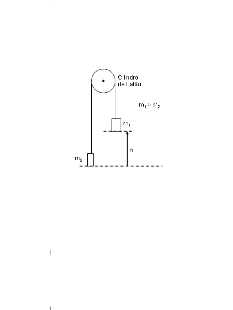
MÁQUINA DE ATWOOD 
O sistema físico mostrado na Fig. 1 denomina-se Máquina de Atwood
onsiste de um cilindro de latão (polia) que pode girar em torno de um eixo fixo, 
, ou pesos, de massas m1 e m2 pendurados na polia por meio de 
inextensível. A diferença entre os pesos dos
torque não nulo sobre a polia, que gira com aceleração 
angular constante. A máquina de Atwood é um instrumento de grande utilidade 
r o momento de inércia de objetos com simetria cilíndrica
mesmo a aceleração da gravidade, conforme se programa o experimento. 
Figura 1. Máquina de Atwood. 
e o fio não escorrega no cilindro de latão, e se m1 for maior que m
nho), quando o sistema for abandonado sem velocidade inicial, 
entre a diferença de massa dos corpos e a aceleração linear do movimento é 
(2h/gR2)(I + MR2)(1/t2) + τa/(gR) 
M = m1 + m2, h é a altura inicial, t é o tempo em que os 
corpos se deslocam de h, I e R são o momento de inércia do cilindro de latão
é torque da força de atrito entre o eixo e o cilindro de latão
) é a aceleração da gravidade. 
studar o movimento da máquina de Atwood e determinar o momento de 
e o torque da força de atrito. 
Máquina de Atwood. 
em torno de um eixo fixo, 
pendurados na polia por meio de 
s dois corpos é 
, que gira com aceleração 
angular constante. A máquina de Atwood é um instrumento de grande utilidade 
r o momento de inércia de objetos com simetria cilíndrica, ou 
mesmo a aceleração da gravidade, conforme se programa o experimento. 
 
for maior que m2 (ver 
nho), quando o sistema for abandonado sem velocidade inicial, a relação 
entre a diferença de massa dos corpos e a aceleração linear do movimento é 
 (1) 
h é a altura inicial, t é o tempo em que os 
ão o momento de inércia do cilindro de latão e 
entre o eixo e o cilindro de latão, e g (= 
studar o movimento da máquina de Atwood e determinar o momento de 
 2
3. Material 
Polia de latão com eixo, barbante, 2 pesos de suspensão, conjunto de 
discos metálicos (pequenos pesos que se acoplam aos pesos de suspensão), 
régua de 1 m, paquímetro, balança de precisão e cronômetro. 
4. Procedimento 
 Monte a Máquina conforme indica a Figura 1. A massa total dos corpos 
(M = m1 + m2) durante o experimento deverá ser constante, porém sua diferença 
(∆m = m1 – m2) variável. Isso poderá ser feito transferindo os discos de um corpo 
para o outro. 
 Mantenha h fixo e varie ∆m e determinando t com o cronômetro. Para 
cada ∆m, repita algumas vezes (três ou quatro) a medida de t. Coloque os 
resultados numa tabela. 
 Lance seus dados em gráfico, escolhendo os eixos de tal forma que os 
pontos possam ser ajustados por uma reta. [Examine a Eq. (1) para concluir 
sobre a escolha dos eixos]. 
Determine, a partir do gráfico, os valores do momento de inércia do 
cilindro de latão e do torque da força de atrito com seus respectivos desvios 
padrão. 
 Como a massa do cilindro de latão é conhecida (consulte tabela fornecida 
em sala) e você pode determinar as suas dimensões com um paquímetro, 
calcule, a partir desses dados, o valor aproximado de seu momento de inércia. 
Explicite a equação que usou. Compare o valor encontrado com aquele obtido 
pelo gráfico. 
 
BIBLIOGRAFIA 
1. M. Alonso e E.J. Finn, Física – Um Curso Universitário, Vol. 1, seção 10.4. 
2. D. Halliday e R. Resnick, Fundamentos de Física, Vol. 1, caps. 11 e 12. 
3. F.W. Sears e M. Zemansky, Física, Vol 1, cap. 9. 
4. P.A. Tipler, Física, Vol. 1, cap. 12.

Mais conteúdos dessa disciplina