Logo Passei Direto
Buscar
Material
páginas com resultados encontrados.
páginas com resultados encontrados.
left-side-bubbles-backgroundright-side-bubbles-background

Crie sua conta grátis para liberar esse material. 🤩

Já tem uma conta?

Ao continuar, você aceita os Termos de Uso e Política de Privacidade

left-side-bubbles-backgroundright-side-bubbles-background

Crie sua conta grátis para liberar esse material. 🤩

Já tem uma conta?

Ao continuar, você aceita os Termos de Uso e Política de Privacidade

left-side-bubbles-backgroundright-side-bubbles-background

Crie sua conta grátis para liberar esse material. 🤩

Já tem uma conta?

Ao continuar, você aceita os Termos de Uso e Política de Privacidade

Prévia do material em texto

CAPÍTULO 1 
 
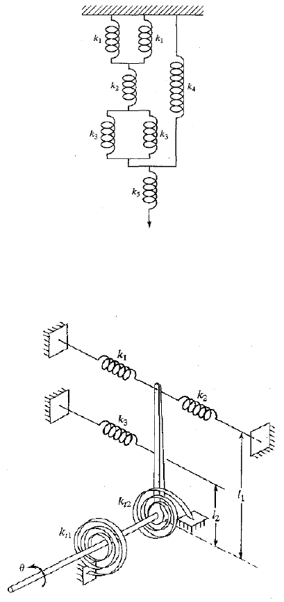
1 - Determine a constante elástica equivalente do sistema mostrado na figura 
abaixo. 
 
 
 
2 - Na figura abaixo, determine a constante elástica equivalente do sistema na 
direção de ϴ. 
 
 
 
 
3 - Determine a constante elástica torcional equivalente do sistema mostrado na 
figura abaixo. Admita que k1, k2, k3 e k4 são constantes torcionais e que k5 e k6 
são constantes elásticas lineares. 
 
 
4 - Determine a constante elástica equivalente e a massa equivalente do sistema 
mostrado na figura abaixo com relação a ϴ. Admita que as barras AOB e CD sejam 
rígidas com massa desprezível. 
 
 
 
CAPÍTULO 2 
 
1 - Constata-se que uma viga simplesmente apoiada com seção transversal quadrada 
de 5 mm x 5 mm e comprimento de 1 m, que suporta uma massa de 2,3 kg em seu 
ponto médio, tem uma freqüência natural de vibração transversal de 30 rad/s. 
Determine o módulo de Young da viga 
 
. 
 
2 - A caçamba de um caminhão de bombeiros está localizada na extremidade de uma 
lança telescópica, como mostrado na Figura abaixo. A caçamba, mais o bombeiro, 
pesam 2.000 N. Determine a freqüência natural de vibração da caçamba no sentido 
vertical. 
Dados: 
Módulo de Young do material: E= 2,1 x 1011 Nim2; 
Comprimentos: l1 = l2 = l3 = 3 m; áreas de seções transversais: 
A1 = 20 cm², A2 = 10 cm², A3 = 5 cm²

Mais conteúdos dessa disciplina