Logo Passei Direto
Buscar
Material
páginas com resultados encontrados.
páginas com resultados encontrados.
left-side-bubbles-backgroundright-side-bubbles-background

Crie sua conta grátis para liberar esse material. 🤩

Já tem uma conta?

Ao continuar, você aceita os Termos de Uso e Política de Privacidade

Prévia do material em texto

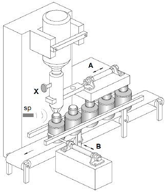
<p>UNIVERSIDADE FEDERAL DE UBERLÂNDIA</p><p>FACULDADE DE ENGENHARIA MECÂNICA</p><p>FEMEC42091 – AUTOMAÇÃO INDUSTRIAL</p><p>Prof. Werley Rocherter Borges Ferreira</p><p>Módulo 1</p><p>Roteiro de aula prática do Método Cascata</p><p>1. Introdução</p><p>Nesta etapa da disciplina, os alunos estão trabalhando com lógica de relés, na aula prática anterior os</p><p>eles tiveram a experiência com o Modo Intuitivo de projetar circuitos eletropneumáticos. Porém, na última</p><p>aula teórica foi mostrado que este método pode levar o projetista a cometer erros, além de ser um método</p><p>de tentativas e erros, caso a sequência de movimentos seja indireta.</p><p>Sendo assim, nesta última aula foi apresentado o método Cascata, o qual evita a sobreposição de sinais</p><p>nas eletroválvulas, vale ressaltar que neste método é utilizado válvula duplo solenoide, pois a propriedade</p><p>de memória é importante para o funcionamento do circuito.</p><p>2. Objetivos</p><p>Os objetivos desta aula são:</p><p> Projetar o circuito eletropneumático ou eletrohidráulico para o problema proposto;</p><p> Simular o circuito no fluidsim;</p><p> Montar o circuito na bancada.</p><p>3. Problema</p><p>Na indústria farmacêutica é comum o uso de sistemas eletropneumáticos para a automação dos</p><p>processos. Na Figura 1 é apresentado um sistema de envase de comprimidos. Neste sistema, assim que</p><p>a chave com trava é acionada, a esteira funciona continuamente; o cilindro A avança e depois de 3s</p><p>recua; assim que A termina de recuar, o cilindro B recua e logo em seguida avança para liberar a</p><p>passagem do frasco cheio. Como pode ser observado na Figura 1, quando A avança, o furo da placa se</p><p>alinha com a saída de comprimidos. Neste momento, os comprimidos caem no frasco. Para este</p><p>problema, supor que a velocidade da esteira está perfeitamente sincronizada com a movimentação de</p><p>B, de tal forma que passe somente um frasco por ciclo.</p>

Mais conteúdos dessa disciplina